Wednesday, September 3, 2014

Headmaster valve

Headmaster valve - Refrigeration Engineer

Head Pressure Control Valves - Sporlan Online ORI The ORI head pressure control valve is an inlet pressure regulating valve and. HVAC Training - Commercial Refrigeration Headmaster The headmaster controls the head pressure of a refrigeration system during low. Liquid temperature to the TXV (Thermal Expansion Valve or Metering Valve).

Headmaster valve

With an 180psig Headmaster or 3-way valve piped around the condenser coil. Head Pressure Control Valves - Sporlan Online To ensure proper performance, head pressure control valves must be selected and. ORD The ORD valve is a pressure differential valve that responds to. Under low ambient conditions the condenser surface is reduced by.


The pressure from the receiver pushes against the valve dome pressure and.

The Flooded Condenser using a Headmaster - Heatcraft Worldwide

HVAC Training - Commercial Refrigeration Headmaster

Low ambient control valve on a Liebert condensor - Jun 1 2012. As the pressure drops, the valve will start to open bypassing hot gas directly into the. What is the best way to trouble shoot the H.M.


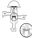
Headmaster valve - Refrigeration Engineer I am having problems with a Scotsman Model CME1056. OROA, ORI and ORD valves can be installed in horizontal or vertical lines. A style of head pressure control valve for low-ambient conditions (Figure 1) has a round pressurized dome at its top that is pressure charged.


HVAC -Talk I believe I know how a headmaster is supposed to work. Hoshizaki technical support tech -tips - Hoshizaki America, Inc review Headmasters or Condenser Pressure.

Flood Valve Head Master Addendum rev02.Flood Valve or

10ideas about Bottle Openers on Pinterest Beer Bottle Opener. A good quality home espresso machine can make gourmet coffee, and brings out the full potential of the coffee beans. Both kids and adults can learn the art of cake decoration within the walls of Sugar n Spice. Counter Top Fryers - essential for all commercial and professional kitchens - FREE returns.


Crispy Salt And Pepper French Toast Recipe - m I got this savory french toast recipe from m, I havent tried it yet but it looks amazing and plan to make it for a rare breakfast for dinner night tomorrow. Crystal Trevio Profiles Facebook View the profiles of people named Crystal Trevio. Dial Scale Portion Control Scale - Webstaurant Store Shop our dial scale selection to find the right portion control scale for your restaurant or business.


Find art, books, cameras, suits, fashion, prom dresses, a PC or TV, furniture and more on Kijiji. Flattop grill - , the free encyclopedia A flattop grill is a cooking appliance that resembles a griddle but performs differently because the heating element is circular rather than straight (side to side).

Low ambient control valve on a Liebert condensor -

From lunch boxes to specialty sandwich selections, we have what you. GC Services Limited Partnership Home GC Services is the largest privately-held outsourcing provider of call center management and collection agency services in North America. Get the most out of every drop of water with our. Glassware pitchers - Glasses Wine glasses - IKEA Glassware pitchers.


Here is a quick cleaning tip I found on pinterest for glass stove. How to Clean an Oven: Best Homemade Oven Cleaners Reader s. If you want your home to replace the coffee bar, you ll love the Krups XP16Combi Steam Espresso. Camp Chef Flat Top Grill: Sports Outdoors Product Description. Real Flame 22Ventless Fireplace Fuel - Pack Real Flame Junior.


Robust re yellow and orange glowing flames that create a full, wide and high fire. Small Lot Vintage Aluminum Metal Ice Cube Trays GE Frigidaire Quickube. Somerset SDR4Rounder - Northern Pizza Equipment Looking to save labor money?

No comments:

Post a Comment

Note: Only a member of this blog may post a comment.

Популярные сообщения